ОБОРУДОВАНИЕ ВЧ-СВЯЗИ
Пример схемы организации ВЧ-каналов по ВЛ
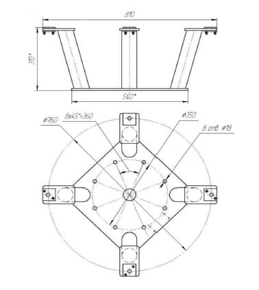
ПЬЕДЕСТАЛ УНИВЕРСАЛЬНЫЙ
Пьедестал универсальный предназначен для установки высокочастотных заградителей серии ВЗ с номинальным током от 630 до 4000 А на все существующие типы опорных конструкций.
Пьедесталы устанавливаются:
- на любые типы опорных фундаментов;
- на конденсатор связи, оснащенный изолирующей подставкой, при подключении высокочастотного заградителя к линиям 35 и 110 кВ;
- на колонку конденсаторов связи 220 кВ, состоящую из двух конденсаторов связи и изолирующей подставки, в случае подключения высокочастотного заградителя к линии 220 кВ;
- на все существующие типы шинных опор, состоящих из одной или нескольких колонок опорных изоляторов;
- на другие неуказанные виды опорных конструкций.
Маркировка
Пьедестал универсальный (ПВЗ)-ХХХХ УХЛ1,
где ХХХХ - номинальный ток высокочастотного заградителя, под который устанавливается пьедестал.
Габаритно-установочные размеры